申报品牌名称(中文):Lumary
申报品牌名称(英文):Lumary
品牌图:

企业简介:
深圳市领克科技有限公司成立于2017年6月。
1、26届广州国际照明展览会,阿拉丁神灯奖-智能照明百强榜企业“家居照明类"
2、2024年阿拉丁神灯奖,数智应用奖30强-ZigBee应用奖
3、Lumary Imvisual HDMl Sync Boxwith Lights荣获 CESa 2024 InnovationAwards honoree.
4、品牌方舟Brand Ark Awards 2024 年度影响力出海品牌
5、国家高新技术企业
6、美国智能筒灯领导品牌,智能幻彩筒灯和智能上下发光筒灯的开创者
7、美国智能屋檐灯前三品牌
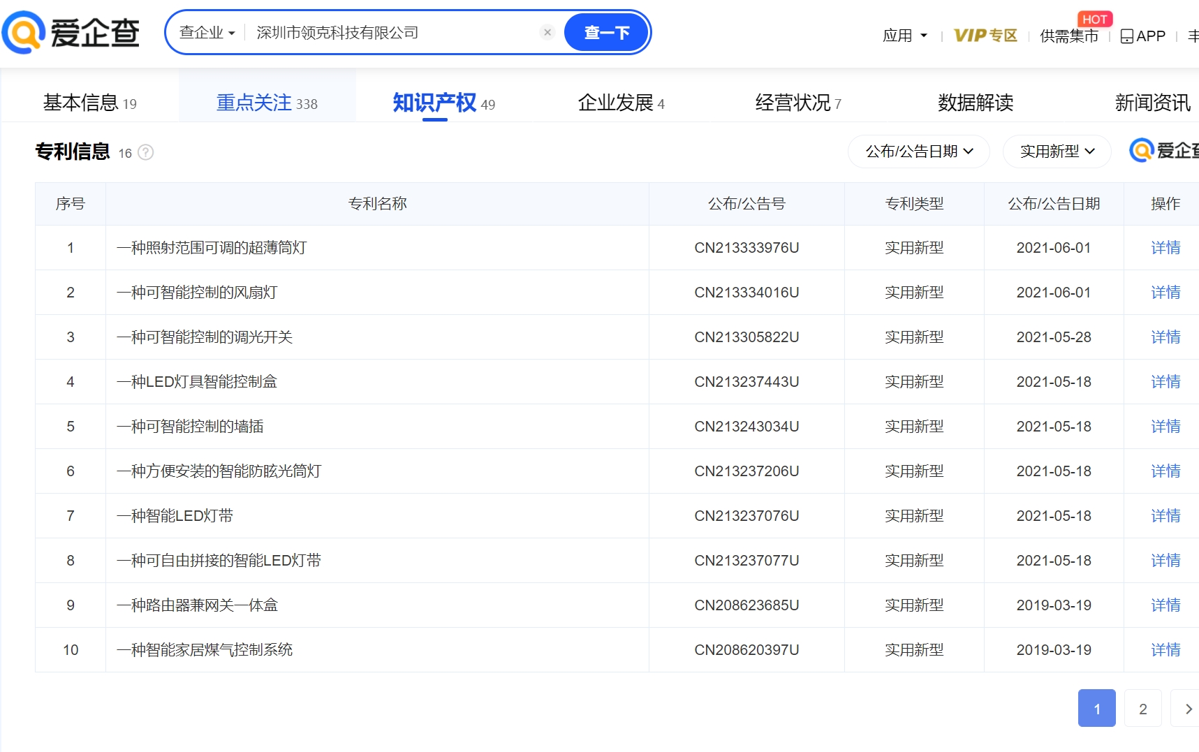
8、41项国内智能照明领域专利,13项美国智能照明领域专利
9、APP用户数超百万,累计销售的智能设备数量超500万件
以品牌化为导向,专注于智能照明、智能电工、智能传感器等领域的创新和差异化。
我们坚持以人为本,以技术为导向,结合前沿语音技术和app应用:持续为用户提供高质量的智能产品和更便捷的用户体验。
产品线简介:
智能照明,智能电工,智能传感
协议:Bluetooth,Wi-Fi,ZigBee
市场优势:
美国智能筒灯领导品牌,智能幻彩筒灯和智能上下发光筒灯的开创者;
美国智能屋檐灯前三品牌;
41项国内智能照明领域专利,13项美国智能照明领域专利;
APP用户数超百万,累计销售的智能设备数量超500万件。
专利/获奖情况:
1、26届广州国际照明展览会,阿拉丁神灯奖-智能照明百强榜企业“家居照明类"
2、2024年阿拉丁神灯奖,数智应用奖30强-ZigBee应用奖
3、Lumary Imvisual HDMl Sync Boxwith Lights荣获 CESa 2024 InnovationAwards honoree.
4、品牌方舟Brand Ark Awards 2024 年度影响力出海品牌
5、国家高新技术企业
6、美国智能筒灯领导品牌,智能幻彩筒灯和智能上下发光筒灯的开创者
7、美国智能屋檐灯前三品牌
8、41项国内智能照明领域专利,13项美国智能照明领域专利
9、APP用户数超百万,累计销售的智能设备数量超500万件









项目落地:
行业首创智能工矿灯
行业首创智能幻彩筒灯和智能上下发光筒灯
行业首创智能上下发光吸顶灯
行业首创智能太阳能水阀
战略合作伙伴:
tuya、amazon、google、Lowes
宣传视频:
申报单位名称(中文):深圳市领克科技有限公司
申报单位名称(英文):Shenzhen Lingke Technology Co. Ltd
企业LOGO:

主营范围:智能照明,智能家居
企业官网:www.lumarysmart.com